Multithreading Architectures
Superscalar architectures
A scalar architecture is a single issue architecture while superscalar architectures allow for multiple instructions to be executed per clock cycle. Remember that ILP parallel processing:
- ILP improves throughput by pipelining operations
- Parallel processing is non-user-transparent way of executing programs
{width=50%}
Superscalar architectures have limitations. ILP has an upper bound:
- Dynamic scheduling is expensive and difficult to design and verify
- Register renaming has its limits
- Jump and branch predictions are not always accurate
- Memory latency is a huge issue.
- Hazards prevent too many instructions from being issued simultaneously.
Temporal Multithreading
Using Temporal Multithreading is possible to further increase parallelism by alternately switching between tasks. Temporal Multi-threading has a high cost due to each thread having its own context and there are different techniques to achieve it:
- Fine-grained multi-threading involves switching between different threads at a very fine level of granularity, such as after every instruction. This allows for maximum utilization of resources but can also lead to increased overhead due to frequent context switching.
- Coarse-grained multi-threading involves switching between different threads at a coarser level of granularity, such as after completing a group of instructions from one thread before moving on to another thread. This reduces the overhead associated with context switching but may not fully utilize available resources.
- Simultaneous multi-threading (SMT) is similar to fine-grained multi-threading but goes further by allowing multiple instructions from different threads to be executed simultaneously within each clock cycle.
{width=50%}
There are drawbacks in each approach:
- Fine-grain multithreading has empty issue windows, causing idle time.
- Coarse-grained multithreading architecture is not commonly used, since it requires flushing the pipeline and can result in starvation.
- SMT requires more complex hardware than either fine- or coarse-grained multithreading but can provide higher levels of parallelism and better resource utilization.
{width=50%}
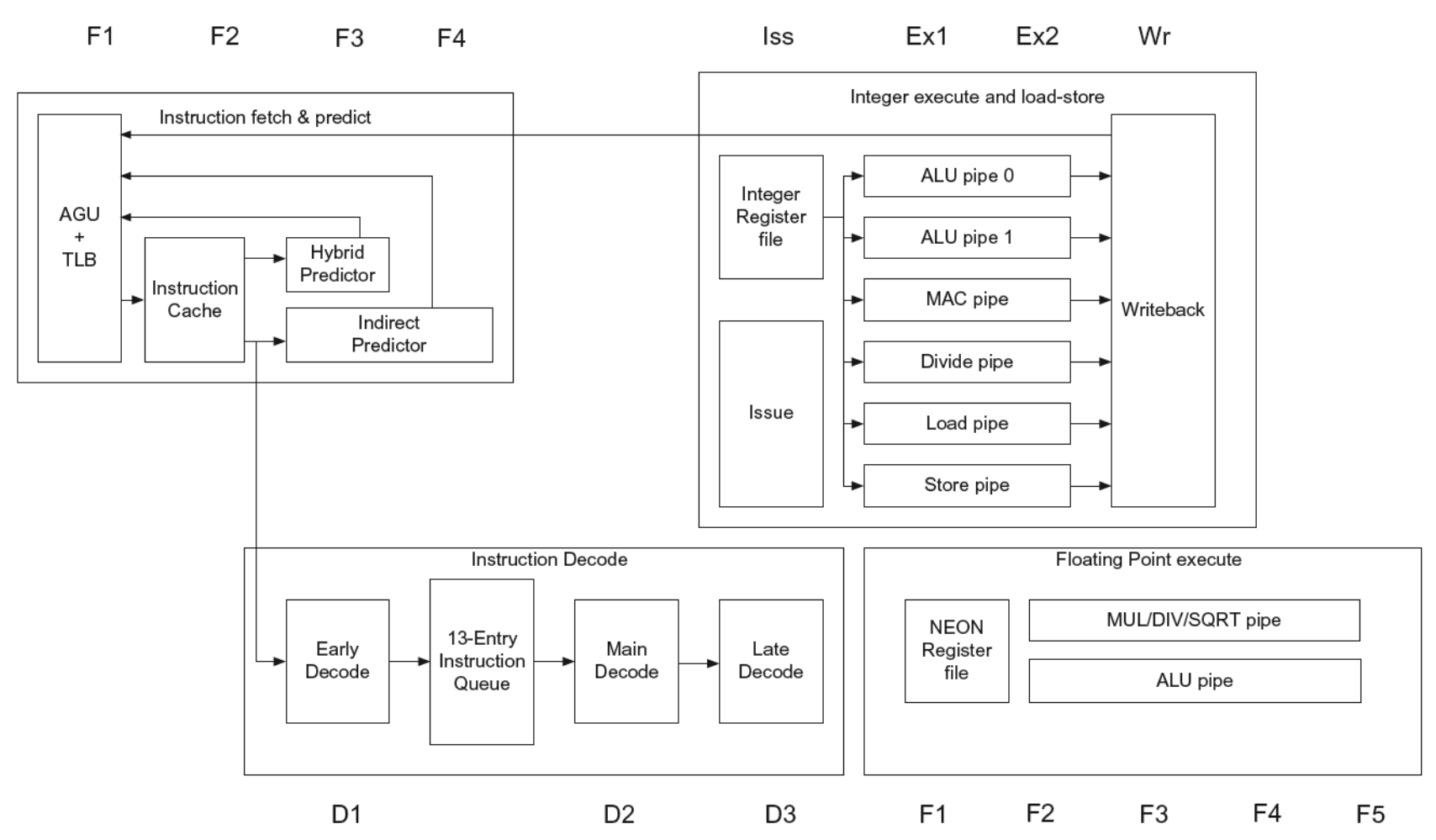
ARM Cortex-a53 pipeline example
What actually happens in real world? Basically different systems are combined to achieve the most performance: for example cpu alone is not enough for tasks such as playing games in 4K or streaming on Twitch: GPUs are a common addition to systems. This is called heterogeneous architecture since it combines different types of processors. An example of heterogeneous architecture is the big.LITTLE architecture. Cortex-a53 (also the Raspberry Pi 3 CPU) can be used alone as an energy-efficient alternative to the Cortex-A57, or in a big.LITTLE configuration alongside a more powerful microarchitecture. The big.LITTLE configuration architecture is multicore and heterogeneous with a shared ISA, combining battery-efficient (LITTLE) and power-hungry (big) cores. Typically, only one side will be active, but all cores can access the same memory.
